苹果柔性电池专利或用于腕表设计
来源:瀚谷电池网 日期:2013-7-6 作者:瀚谷电池网 点击:
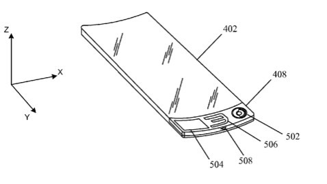
据瀚谷电池网了解,众所周知苹果是一个富有创造力的公司,近日苹果获得了一项非常值得关注的专利,此次专利涉及到电池设计,而这项设计有望运用于腕表等柔性可弯曲设备中。

在专利文件中,苹果提到柔性电池包可以包含多个电池,比如说原电池和光伏电池。电池包也可以拥有多个叠成,叠层之间可以使用粘合剂固定,这样可以允许电池根据电子设备的形状改变。

同时,苹果在专利中提到了很多可以使用柔性电池包设计的设备,而且包含腕表。苹果将于今年秋季发布新款iPhone和iPad。

【投稿联系:周小姐 0571-81389937 采购电话:0571-88939068 采购QQ:
广告QQ:
】
上一篇: 盘点那些千奇百怪的太阳能建筑
下一篇: 没有了
版权声明:瀚谷电池网转载作品均注明出处,本网未注明出处和转载的,是出于传递更多信息之目的,并不意味 着赞同其观点或证实其内容的真实性。如转载作品侵犯作者署名权,或有其他诸如版权、肖像权、知识产权等方面的伤害,并非本网故意为之,在接到相关权利人通知后将立即加以更正。
>>相关文章
评论表单加载中...正在加载评论列表...
本文共有
条评论
>>

